1. 午夜成人免费视频,午夜福利AV在线,欧美午夜在线,午夜色情免费下载APP

      欢迎来到午夜成人免费视频食品机械(江苏)有限公司官方网站!
      您的位置: 首页 > 产品中心 > 椰子加工系列 > YMJ型椰肉研磨机
      联系午夜成人免费视频 Contact Us
      午夜成人免费视频食品机械(江苏)有限公司
      电话:0523-84888995
      联系人:刘先生
      手机:18961099766
      地址:江苏省靖江市新桥工业园区瑞江路16号(飞煌智能装备产业园26-2)
      网址:www.eedsxmq.com
        
      < >

      YMJ型椰肉研磨机

      YMJ型椰肉研磨机,是根据椰肉所持有的特点,研制的一种专用磨碎机,适用于椰子汁加工工艺中椰肉的粉碎;该机与椰肉接触部分全部由304不锈钢制作,符合食品卫生。
      18961099766

      详细说明/ Parameter

      概述

      YMJ型椰肉研磨机,是根据椰肉所持有的特点,研制的一种专用磨碎机,适用于椰子汁加工工艺中椰肉的粉碎;该机与椰肉接触部分全部由304不锈钢制作,符合食品卫生。

      产品型号


      结构特征与工作原理

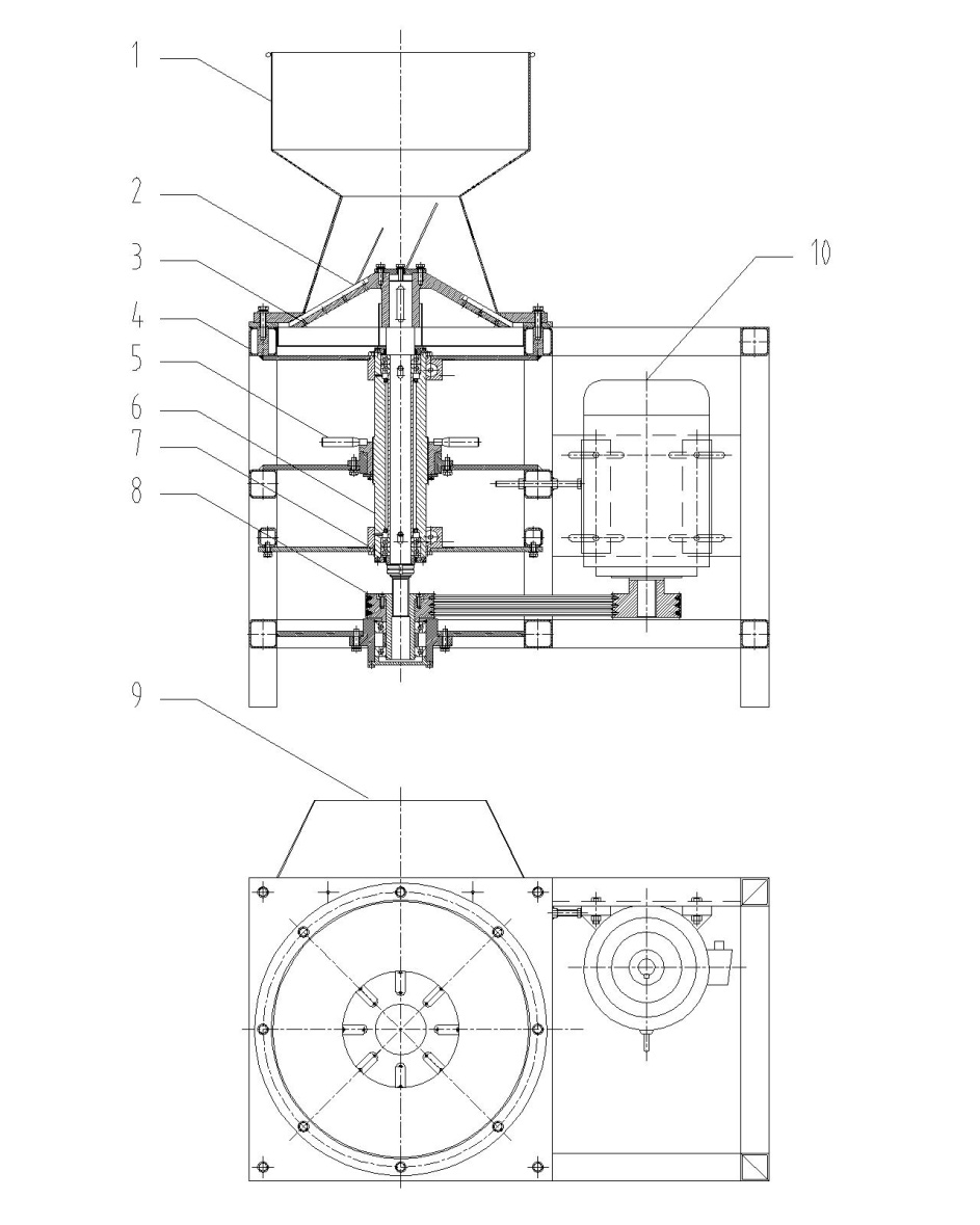
      4.1结构:参照图4-1椰肉磨浆机结构原理图,该机主要由机架、进出料斗、齿刀、刀盘、轴承机构、传动机构、电机等组成。

      4.2工作原理:工作时电机经一对V带轮、通过轴承架、轴承机构高速驱动刀盘高速旋转,刀盘上装有若干把齿刀片,齿刀由耐磨高硬度合金制造。椰肉自由落入进料斗,被高速旋转的齿刀磨碎,磨碎后的物料由刀盘和刀盘盖之间的间隙落入出料斗。实现磨碎功能。整体转子总成制作有升降调节机构,可以调整刀盘与刀盘盖之间的间隙,从而调整椰肉的磨细粒度。


       


      图4-2,椰肉研磨机结构原理图

      1、进料斗;2、齿刀片;3、刀盘;4、机架;5、转子升降机构;6、轴承架;7、轴承;8、皮带传动机构;9、出料斗;10、电机

      安装、调整、操作与维护

      4.1 机器必须安装水平,并用地脚螺钉固定。

      4.2操作:当设备启动时,应调整好齿盘和齿刀盖之间的间隙。

      4.3进料必须均匀,严禁硬质异物进入料斗,以免损坏筛网。

      4.4维护: 班中停车或换季闲置时,应对设备进行清洗,保持内外洁净;

      4.5定期对各润滑点加润滑油、脂。


      设备型号

      产量

      功率

      外形尺寸

      YMJ-1

        1T

        4KW

      900×600×1200

      TMJ-1.5

        1.5T

        7.5KW

      1240×930×1800



      产品广泛应用于超市、宾馆、餐饮、休闲、娱乐、医院、教育等场所。

      下一个:GXJ型滚筒拣选机


      标签:
      午夜成人免费视频食品机械(江苏)有限公司
      电话:0523-84888995
      手机:18961099766
      联系人:刘先生
      地址:江苏省靖江市新桥工业园区
      瑞江路16号(飞煌智能装备产业园26-2)
      备案号:苏ICP备39459859号
      留言板
      版权所有:午夜成人免费视频食品机械(江苏)有限公司   技术支持:新超云网络
      网站地图